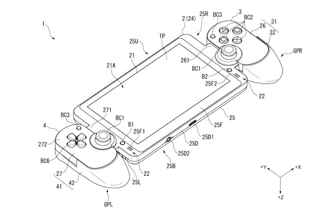
Nintendo Switch is almost here offering a console slash handheld hybrid that's something of a first. But the new system also shines as a result of its detachable controllers, the Joy-Con. A completely new idea? Well, there are different add-ons for mobile devices with the same concept, but Sony also patented something similar in 2015 that is coming to light now.
In these sketches, shared by Esuteru, we can see something like a DualShock split in two and attached to a tablet. It offers every single button we are used to, even two prominent sticks and rear triggers. The design certainly looks like something Sony would do, but doesn't appear as refined as Nintendo's final product.
Nobody but Sony knows how many units of PS Vita have been sold around the world, but the handheld is clearly not a wild success story. Do you think Sony has the will to take another stab at the handheld market?

<bild></bild>